Кабельный ввод — сальник кабельный — гермоввод металлический
Кабельный ввод — сальник — предназначен для ввода проводов и кабелей в электрощитовое оборудование
с целью защиты проводников от механического повреждения и защиты самой
сборки от проникновения пыли и влаги в месте ввода. Конструкция кабельных вводов ВК позволяет пропускать кабель без его демонтажа.
Гермоввод металлический
Продукция гермоввод металлический соответствует: ТУ 3449-008-99856433-2011, ГОСТ 14254-96
Cальник кабельный,
технические характеристики
Климатическое исполнение: УХЛ 1,5
Степень защиты: IP 68
Материал сальника: Латунь с никелевым покрытием
Материал уплотнителя: Маслостойкая резина
Температура эксплуатации: -40°C ~ 100°C
Изготавливается по: ТУ 3449-008-99856433-2011
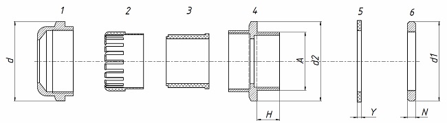
Кабельный герметичный ввод состоит:
1 — накидная
гайка
2, 3 — уплотнитель
4 — корпус
5 — прокладка
6 — гайка
| Тип | Аналог | Диаметр резьбы
(установочный) А, мм |
Наружный диаметр
кабеля, мм |
Размеры, мм | Масса
1шт, кг |
|||||
|---|---|---|---|---|---|---|---|---|---|---|
| d | d1 | d2 | H | Y | N | |||||
| Сальник М12 | — | М12×1,5 | 3-6,5 | 15 | 15 | 15 | 7 | 1,7 | 3,2 | 0,015 |
| Сальник М16 | — | М16×1,5 | 4-8 | 19 | 19 | 19 | 8 | 1,7 | 3,2 | 0,027 |
| Сальник М19 | У261 | М19×1,5 | 6-12 | 22 | 22 | 22 | 8 | 1,7 | 3,5 | 0,031 |
| Сальник М20 | — | М20×1,5 | 6-12 | 24 | 24 | 24 | 8 | 1,7 | 3,3 | 0,040 |
| Сальник М20 | — | М20×1,5 | 10-14 | 24 | 24 | 24 | 8 | 1,7 | 3,3 | 0,040 |
| Сальник М22 | У262 | М22×1,5 | 8-15 | 27 | 27 | 27 | 8,5 | 2,0 | 3,5 | 0,054 |
| Сальник М25 | — | М25×1,5 | 8-16 | 30 | 30 | 30 | 8,5 | 2,0 | 3,5 | 0,064 |
| Сальник М25 | — | М25×1,5 | 13-18 | 30 | 30 | 30 | 8,5 | 2,0 | 3,5 | 0,064 |
| Сальник М30 | У263 | М30×1,5 | 14-22 | 36 | 36 | 36 | 9 | 2,0 | 4,0 | 0,107 |
| Сальник М32 | — | М32×1,5 | 14-22 | 36 | 36 | 36 | 10 | 2,0 | 4,0 | 0,099 |
| Сальник М40 | М40×1,5 | 22-30 | 45 | 45 | 45 | 11 | 2,4 | 4,5 | 0,142 | |
| Сальник М42 | У667 | М42×1,5 | 23-34 | 50 | 45 | 50 | 9 | 2,0 | 4,5 | 0,182 |
| Сальник М48 | У668 | М48×1,5 | 26-39 | 57 | 55 | 57 | 12 | 2,0 | 5,5 | 0,266 |





